Tuotetiedot
"Luna" Napalaikoille ja katkaisulaikoille. Ergonomisesti muotoiltu kahva, joka alentaa tärinätasoa ja eristää kylmältä ilmalta. Ilmanpoisto kahvasta. Turvakäynnistin. 360° svivlande slanganslutning. kääntyvä letkuliitäntä. Suunniteltu ammattikäyttöön. Yhdeksänasentoinen räjähdyssuoja. Tärinävaimennettu sivukahva. Lisävarusteena on saatavana M14-laippalevy, joka helpottaa napalaikan ja katkaisulaikan vaihtamista. Karalukko. Vakiotoimitukseen sisältyy yksi napalaikka. ´
Napalaikkakoko mm 115x22. Karakierre M 14. Kierrosnopeus r/min 10000. Äänitaso (CEN/TC 255 N811) dB (A) 82. Tärinä (ISO 5349) m/s² 2.4. Suos. letkukoko tuuma 3/8.
Liitäntäkierre G (R) ¼. Teho W 560. Paino kg 1.9.
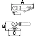
Ilmankulutus 100% int.* l/min 450. Ilmankulutus 50% int.* l/min 225. Ilmankulutus 100% int.* l/s 7.5. Ilmankulutus 50% int.* l/s 3.8. A-mitta (ks. piirr.) mm 251.5, B-mitta (ks. piirr.) mm 101.1, C-mitta (ks. piirr.) mm 134.
Liittyvät kirjoitukset
Tuliko mieleen kysyttävää tai haluatko keskustella myyntimme kanssa?